1. Khái niệm về điện trở.
Điện trở là gì ? Ta hiểu một cách đơn giản – Điện trở (transistors) là sự cản trở dòng điện của một vật dẫn điện, nếu một vật dẫn điện tốt thì điện trở nhỏ, vật dẫn điện kém thì điện trở lớn, vật cách điện thì điện trở là vô cùng lớn.
Điện trở của dây dẫn :
Transistors của dây dẫn phụ thộc vào chất liệu, độ dài và tiết diện của dây. được tính theo công thức sau:
R = ρ.L / S
- Trong đó ρ là điện trở xuất phụ thuộc vào chất liệu
- L là chiều dài dây dẫn
- S là tiết diện dây dẫn
- R là điện trở đơn vị là Ohm
2. Điện trở trong thiết bị điện tử.
- Hình dáng và ký hiệu : Trong thiết bị điện tử điện trở là một linh kiện quan trọng, chúng được làm từ hợp chất cacbon và kim loại tuỳ theo tỷ lệ pha trộn mà người ta tạo ra được các loại điện trở có trị số khác nhau
Ngày nay có dòng máy đo điện trở chuyên dụng giúp xác định giá trị của nó một cách dễ dàng.
a) Đơn vị của điện trở
- Đơn vị điện trở là Ω (Ohm) , KΩ , MΩ
- 1KΩ = 1000 Ω
- 1MΩ = 1000 K Ω = 1000.000 Ω
b) Cách ghi trị số của điện trở
- Các transistors có kích thước nhỏ được ghi trị số bằng các vạch mầu theo một quy ước chung của thế giới.( xem hình ở trên )
- Các điện trở có kích thước lớn hơn từ 2W trở lên thường được ghi trị số trực tiếp trên thân. Ví dụ như các điện trở Công suất, điện trở sứ.
3. Cách đọc trị số điện trở
Quy ước mầu Quốc tế về điện trở là gì
| Mầu sắc
Đen |
Giá trị
0 |
Mầu sắc
Xanh lá |
Giá trị
5 |
| Nâu | 1 | Xanh lơ | 6 |
| Đỏ | 2 | Tím | 7 |
| Cam | 3 | Xám | 8 |
| Vàng | 4 | Trắng | 9 |
| Nhũ vàng | -1 | ||
| Nhũ bạc | -2 |
Điện trở thường được ký hiệu bằng 4 vòng mầu , điện trở chính xác thì ký hiệu bằng 5 vòng mầu.
* Cách đọc trị số điện trở 4 vòng mầu :
- Vòng số 4 là vòng ở cuối luôn luôn có mầu nhũ vàng hay nhũ bạc, đây là vòng chỉ sai số của điện trở, khi đọc trị số ta bỏ qua vòng này.
- Đối diện với vòng cuối là vòng số 1, tiếp theo đến vòng số 2, số 3
- Vòng số 1 và vòng số 2 là hàng chục và hàng đơn vị
- Vòng số 3 là bội số của cơ số
- Trị số = (vòng 1)(vòng 2) x 10( mũ vòng 3)
- Có thể tính vòng số 3 là số con số không “0” thêm vào
- Mầu nhũ chỉ có ở vòng sai số hoặc vòng số 3, nếu vòng số 3 là nhũ thì số mũ của cơ số 10 là số âm.
Cách đọc trị số điện trở 5 vòng mầu : ( điện trở chính xác )
- Vòng số 5 là vòng cuối cùng , là vòng ghi sai số, trở 5 vòng mầu thì mầu sai số có nhiều mầu, do đó gây khó khăn cho ta khi xác điịnh đâu là vòng cuối cùng, tuy nhiên vòng cuối luôn có khoảng cách xa hơn một chút.
- Đối diện vòng cuối là vòng số 1
- Tương tự cách đọc trị số của trở 4 vòng mầu nhưng ở đây vòng số 4 là bội số của cơ số 10, vòng số 1, số 2, số 3 lần lượt là hàng trăm, hàng chục và hàng đơn vị.
- Trị số = (vòng 1)(vòng 2)(vòng 3) x 10 ( mũ vòng 4)
- Có thể tính vòng số 4 là số con số không “0” thêm vào
4. Thực hành đọc trị số điện trở.
- Khi các điện trở khác nhau ở vòng mầu thứ 3, thì ta thấy vòng mầu bội số này thường thay đổi từ mầu nhũ bạc cho đến mầu xanh lá , tương đương với điện trở < 1 Ω đến hàng MΩ.
- Ở hình trên là các giá trị điện trở ta thường gặp trong thực tế, khi vòng mầu số 3 thay đổi thì các giá trị điện trở trên tăng giảm 10 lần.
Bài tập – Bạn hãy đoán nhanh trị số trước khi đáp án xuất hiện, khi nào tất cả các trị số mà bạn đã đoán đúng trước khi kết quả xuất hiện là kiến thức của bạn ở phần này đã ổn rồi đó !
5. Các trị số điện trở thông dụng.
Ta không thể kiếm được một điện trở có trị số bất kỳ, các nhà sản xuất chỉ đưa ra khoảng 150 loại trị số điện trở thông dụng , bảng dưới đây là mầu sắc và trị số của các điện trở thông dụng.
6. Phân loại điện trở.
- Điện trở thường : Điện trở thường là các điện trở có Công suất nhỏ từ 0,125W đến 0,5W
- Điện trở Công suất : Là các điện trở có Công suất lớn hơn từ 1W, 2W, 5W, 10W.
- Điện trở sứ, điện trở nhiệt : Là cách gọi khác của các điện trở Công suất , điện trở này có vỏ bọc sứ, khi hoạt động chúng toả nhiệt.
7. Công suất của điện trở là gì
Khi mắc điện trở vào một đoạn mạch, bản thân điện trở tiêu thụ một Công suất P tính được theo công thức
P = U . I = U2 / R = I2.R
- Theo công thức trên ta thấy, Công suất tiêu thụ của điện trở phụ thuộc vào dòng điện đi qua điện trở hoặc phụ thuộc vào điện áp trên hai đầu điện trở.
- Công suất tiêu thụ của điện trở là hoàn toàn tính được trước khi lắp điện trở vào mạch.
- Nếu đem một điện trở có Công suất danh định nhỏ hơn Công suất nó sẽ tiêu thụ thì điện trở sẽ bị cháy.
- Thông thường người ta lắp điện trở vào mạch có Công suất danh định > = 2 lần Công suất mà nó sẽ tiêu thụ.
- Ở sơ đồ trên cho ta thấy : Nguồn Vcc là 12V, các điện trở đều có trị số là 120Ω nhưng có Công suất khác nhau, khi các công tắc K1 và K2 đóng, các điện trở đều tiêu thụ một Công suất là
P = U2 / R = (12 x 12) / 120 = 1,2W
- Khi K1 đóng, do điện trở có Công suất lớn hơn Công suất tiêu thụ , nên điện trở không cháy.
- Khi K2 đóng, điện trở có Công suất nhỏ hơn Công suất tiêu thụ , nên điện trở bị cháy .
8. Biến trở, triết áp :
Biến trở Là điện trở có thể chỉnh để thay đổi giá trị, có ký hiệu là VR chúng có hình dạng như sau :
Biến trở thường ráp trong máy phục vụ cho quá trình sửa chữa, cân chỉnh của kỹ thuật viên, biến trở có cấu tạo như hình bên dưới.
Triết áp : Triết áp cũng tương tự biến trở nhưng có thêm cần chỉnh và thường bố trí phía trước mặt máy cho người sử dụng điều chỉnh.
Ví dụ như – Triết áp Volume, triết áp Bass, Treec v.v.. , triết áp nghĩa là triết ra một phần điện áp từ đầu vào tuỳ theo mức độ chỉnh.
Trong thực tế , khi ta cần một điện trở có trị số bất kỳ ta không thể có được , vì điện trở chỉ được sản xuất khoảng trên 100 loại có các giá trị thông dụng, do đó để có một điện trở bất kỳ ta phải đấu điện trở song song hoặc nối tiếp.
9. Điện trở mắc nối tiếp
- Các transistors mắc nối tiếp có giá trị tương đương bằng tổng các điện trở thành phần cộng lại. Rtd = R1 + R2 + R3
- Dòng điện chạy qua các điện trở mắc nối tiếp có giá trị bằng nhau và bằng I: I = ( U1 / R1) = ( U2 / R2) = ( U3 / R3 )
- Từ công thức trên ta thấy rằng , sụt áp trên các điện trở mắc nối tiếp tỷ lệ thuận với giá trị điệnt trở.
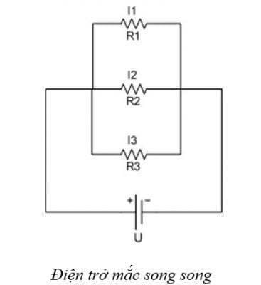
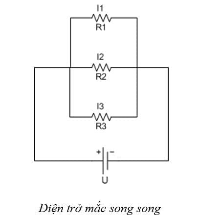
10. Điện trở mắc song song.
- Các điện trở mắc song song có giá trị tương đương Rtd được tính bởi công thức (1 / Rtd) = (1 / R1) + (1 / R2) + (1 / R3)
- Nếu mạch chỉ có 2 điện trở song song thì Rtd = R1.R2 / ( R1 + R2)
- Dòng điện chạy qua các điện trở mắc song song tỷ lệ nghịch với giá trị điện trở
I1 = ( U / R1) , I2 = ( U / R2) , I3 =( U / R3 )
- Điện áp trên các điện trở mắc song song luôn bằng nhau
11. Điện trở mắc hỗn hợp
- Mắc hỗn hợp các điện trở để tạo ra điện trở tối ưu hơn
- Ví dụ: nếu ta cần một điện trở 9K ta có thể mắc 2 điện trở 15K song song sau đó mắc nối tiếp với điện trở 1,5K
12 . Ứng dụng của điện trở là gì
Điện trở có mặt ở mọi nơi trong thiết bị điện tử và như vậy điện trở là linh kiện quan trọng không thể thiếu được , trong mạch điện , điện trở có những tác dụng sau :
- Khống chế dòng điện qua tải cho phù hợp, Ví dụ có một bóng đèn 9V, nhưng ta chỉ có nguồn 12V, ta có thể đấu nối tiếp bóng đèn với điện trở để sụt áp bớt 3V trên điện trở.
- Như hình trên ta có thể tính được trị số và Công suất của điện trở cho phù hợp như sau: Bóng đèn có điện áp 9V và Công suất 2W vậy dòng tiêu thụ là I = P / U = (2 / 9 ) = Ampe đó cũng chính là dòng điện đi qua điện trở.
- Vì nguồn là 12V, bóng đèn 9V nên cần sụt áp trên R là 3V vậy ta suy ra điện trở cần tìm là R = U/ I = 3 / (2/9) = 27 / 2 = 13,5 Ω
- Công suất tiêu thụ trên điện trở là : P = U.I = 3.(2/9) = 6/9 W vì vậy ta phải dùng điện trở có Công suất P > 6/9 W
- Mắc điện trở thành cầu phân áp để có được một điện áp theo ý muốn từ một điện áp cho trước.
Từ nguồn 12V ở trên thông qua cầu phân áp R1 và R2 ta lấy ra điện áp U1, áp U1 phụ thuộc vào giá trị hai điện trở R1 và R2.theo công thức .
U1 / U = R1 / (R1 + R2) => U1 = U.R1(R1 + R2)
Thay đổi giá trị R1 hoặc R2 ta sẽ thu được điện áp U1 theo ý muốn.
Phân cực cho bóng bán dẫn hoạt động
Tham gia vào các mạch tạo dao động R C
Bây giờ bạn đã hiểu rõ điện trở là gì? Nó có cấu tạo, vai trò như thế nào trong hệ thống mạch điện cũng như các đọc ký hiệu và cách tính điện trở rồi phải không nào? Hi vọng bài viết này đã cung cấp cho bạn những kiến thức bổ ích. Hãy theo dõi tktech thường xuyên để cập nhật những bài viết hữu ích nhanh nhất nhé. Cảm ơn mọi người.





















